寶健維權戰報 1500+侵權產品已下架
發布: 2025-09-18 15:41:47 作者: 佚名 來源: 寶健
嚴肅對侵權說不
2025 年已過三分之二,寶健在市場治理上交出硬核答卷。
通過構建完善的合規管理體系,市場秩序得到顯著凈化;而在網絡侵權治理戰場,公司更以 "平臺投訴 + 行政舉報 + 法律威懾" 的多維一體策略重拳出擊,累計成功下架超 1500 件侵權產品!
(因篇幅有限,以下為小部分維權成果展示)
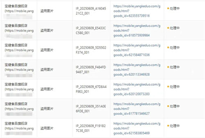
PART.01
下架店鋪


PART.02
下架產品
假冒、違規銷售的寶健產品絕不姑息!寶健果斷發起維權投訴,侵權產品正分批下架,整治行動不停歇。





PART.03
多平臺持續攻堅
侵權打擊不松懈
針對濫用寶健信息、偽裝官方店鋪、侵犯知識產權等侵權店鋪,公司正持續發起維權投訴,強力推動其停止侵權行為。


淘寶平臺投訴

京東平臺投訴

拼多多平臺投訴


12315行政舉報
對伙伴,寶健堅守承諾,提供優質事業平臺,保障應有待遇;對消費者,寶健踐行初心,堅持 “以客戶利益為先,維護消費者權益”。
權益保護與每個人息息相關。在此提醒各位寶健伙伴:請務必規范經營、守護自身權益;選購產品時,認準寶健商城、授權生活館及官方從業人員等正規渠道。維權之路雖長,但公司將持續監控線上違規行為,及時響應處理,用長久堅守為大家的合法權益保駕護航。
如您的身邊有不規范低價行為,為低價店鋪供貨行為的直銷人員,請及時向公司反饋。規范經營是立身之本,合規展業是發展基石,需共同守護市場秩序。
上一篇:寶健巡講:夢想的舞臺,幸福的答案 下一篇: 寶健這波操作,為何被稱 “民族企業教科...
今日新聞頭條
我也說兩句
已有評論 0 條 查看全部回復









