重拳出擊 寶健公司全力保障消費者權益
發布: 2023-06-13 15:26:40 作者: 佚名 來源: 寶健
權益保護 分毫不讓
寶健堅持以產品為導向,在產品質量方面深受消費者認可,27年來贏得了良好的市場口碑,產品很暢銷。
也正因為消費者對寶健產品需求高,某些唯利是圖的人就利用網購平臺鉆空子,盜用寶健產品和相關宣傳,以低價為誘餌,銷售盜版產品或假貨,損害寶健、消費者和代理商伙伴的利益。
一直以來,寶健維權部門通過與淘寶、天貓、京東、拼多多等網購平臺官方對接侵權事宜,通過讓侵權店鋪下架侵權寶健的產品、關停店鋪整頓等,開展系列維權行動,現已取得多項成果。
成果展示:
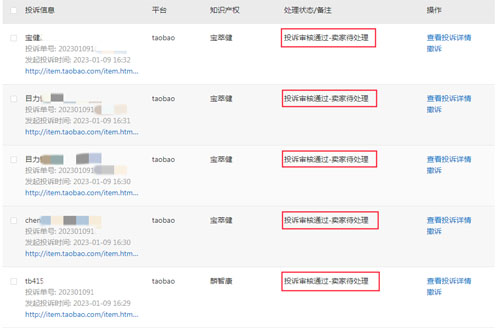
下架侵權產品
對假冒的寶健產品、低價違規銷售的寶健產品,通過維權讓賣家下架商品。

成果展示:
停止濫用信息等侵權行為
對存在濫用寶健信息、偽裝寶健店鋪、侵犯寶健知識產權等侵權行為的店鋪,寶健維權部門通過維權使其停止侵權行為。



由于篇幅有限,以上僅是寶健維權的冰山一角。但是請大家相信,對于維權,我們一直是認真的。
品牌維權,既是為了維護公司的權益和聲譽,更是為了保障廣大消費者的權益不受侵害。
在此,我們鄭重聲明:
未經寶健允許,任何單位和個人均不得擅自制作或使用“寶健”這一企業商號,以及“寶健”“寶萃健”“寶馨”“寶芙”“寶胭”等寶健享有專用權的商標字樣和圖案;不得擅自將上述商標、商號或近似的品牌圖片用于相關的宣傳。(如用于網店裝飾、產品宣傳,讓消費者誤以為是寶健的網上店鋪或與寶健存在某種聯系。)
對于任何侵犯寶健商號、商標或商譽的行為,寶健將根據法律法規,采取必要的法律行動,堅決維護寶健及寶健人的合法權益。
權益保護事關你我,也請各位寶健伙伴維護好自身權益,購買產品時認準正規渠道(寶健商城、寶健授權生活館、寶健從業人員)。
今日新聞頭條
我也說兩句
已有評論 0 條 查看全部回復









