5000億P2P龍頭平臺轟然倒下,公司被立案創始人被抓
發布: 2021-09-29 15:49:32 作者: 佚名 來源: 每日經濟新聞
9月25日,深圳市公安局福田分局發布關于“紅嶺創投”“投資寶”“紅嶺資本”的案情通報。
通報稱,“紅嶺創投”網貸平臺、“投資寶”網貸平臺、“紅嶺資本”線下理財項目涉嫌非法集資犯罪活動,深圳市公安分局福田分局已于近日依法對相關人員涉嫌非法吸收公眾存款、集資詐騙罪立案偵查,并對涉案嫌疑人依法采取刑事強制措施。

來源:深圳市公安局福田分局官方微信
警方對紅嶺系立案偵查
警方在通報中表示,警方現已全面掌握“紅嶺創投”“投資寶”“紅嶺資本”投資人數據和相關財務數據,投資人如需另行報案,可通過線上、郵寄、短信、電話等方式進行報案登記。
9月25日,據紅嶺創投官網,該平臺運營時間仍在繼續自動跳動,但其交易數據卻早已定格。

來源:紅嶺創投官網
數據顯示,在上線經營12余年時間里,紅嶺創投平臺累計出借人超過274萬,累計出借金額超過4500億元,累計交易筆數高達1234萬筆。不過,這些出借人中的很大一部分人如今已經深陷兌付危機旋渦。
在警方發布立案通報的同時,紅嶺創投在官網也發布了相關公告稱,公司將積極配合警方調查工作。調查期間,社區論壇、客服電話、在線客服等保持暢通。

來源:紅嶺創投官網
公開資料顯示,周世平在2009年創立了紅嶺創投。值得關注的是,在創立網貸平臺之前,周世平曾經是一位A股的“牛散”。
紅嶺創投官網顯示,周世平1968年2月生于江蘇如皋,1993年開始長期專注于國內證券市場及上市公司價值研究,超過20年證券投資經驗,2008年下半年開始籌備成立網貸平臺紅嶺創投。
據悉,紅嶺創投創始人周世平此前曾被稱作“網貸教父”,除了創立紅嶺系網貸平臺外,其還是多家A股上市公司的重要股東。今年7月22日晚間,深南股份公告稱,公司控股股東、實際控制人周世平已被采取刑事強制措施。
還有超150億元未兌付

2019年3月,周世平在紅嶺創投論壇上突然發布“雖然清盤,但不是說再見”的清盤聲明,并推出全部出借款三年內完成全額兌付的方案。具體為:第一年(2019年)兌付20%;第二年(2020年)兌付35%;第三年(2021年)兌付45%。
2020年6月,周世平在接受《國際金融報》采訪時表示,紅嶺創投“三年清退計劃”將難以按期完成,“比原來的預期稍微降低,到期資產處置任務將完成80%左右”。
另外,去年周世平曾在朋友圈中表示,作為平臺的實際控制人,已經將個人資產全部清零,資金歸集至監管賬戶,公司資產全部報備監管。
他還表示,紅嶺系平臺有5000多億元交易,最多時有55萬出借人。
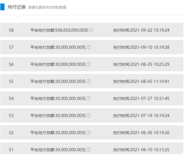
官網最新數據顯示,目前平臺已實施五十八次兌付安排,此前平臺已實施五十七次兌付安排,合計已兌付約26.74億元。為平穩安排兌付,擬于9月22日(周三)10:00進行第五十八次兌付,兌付金額為3000萬元,本次兌付將按先本金后收益兌付方案,先行兌付本金。本次兌付后已累計兌付27億元,剩余待兌付156.7691億元。

圖片來源:紅嶺創投官網
據界面新聞報道,9月22日,本次紅嶺創投兌付金額超過5億元,達到約5.09億元。
一位紅嶺創投的投資者表示,對于本次陡增的兌付額度,很多出借人倍感意外。在紅嶺創投討論區,關于此話題的討論也十分熱烈。

投資寶官網顯示,9月16日,該平臺發布了第32次兌付通知,兌付1000萬。據了解,截至目前,投資寶僅僅兌付了4.1億元,待兌付金額超過60億元,兌付比例為6.2%。
而另一出借平臺紅嶺資本的兌付比例更低。截至目前,僅僅兌付5400萬元,待兌付金額超過10億元,兌付比例僅5%。
今日新聞頭條
我也說兩句
| 驗證碼: |
已有評論 0 條 查看全部回復










