“尋草記商城”無法提現遭用戶投訴:借上市公司名義搞傳銷?
發布: 2021-03-05 10:21:31 作者: 佚名 來源: 社交財經融媒體
不久前,社交財經接到消費者王先生投訴一家打著“社交金融電商”名義的“尋草記商城”涉嫌傳銷與詐騙。
據王先生反映,2019年10月份入職一家名為成都上市吧信息技術股份有限公司,該公司宣傳母公司是一家上市公司,即北京九天云竹信息技術股份有限公司。王先生透露道:“剛來時,就知道公司在推廣‘尋草記商城’并宣傳可以免費買東西,于是在公司誘騙下,我辦了張信用卡,嘗試公司推出的新型消費模式,如買100元的商品,需要投入128倍的價格才能購買,最短半個月將12800元全部返給你,等同于自己免費拿到了100元的商品。”

打款明細截圖(經處理)
“如此可循環利用信用卡充值到尋草記商城,半個月到期即可提現,并且公司規定每個內部員工可以發展下級,親朋好友在尋草記商城消費,自己就可以拿到一定比例的傭金。此外,公司考核規定每個人每個月都要將自己的工資充值平臺進行消費。”王先生說道。

然而,2021年2月1日,尋草記商城出現大量平臺用戶無法提現,王先生的16萬元也無法取出。此外,王先生透露:“公司員工平均每人大概有10多萬元在平臺無法提現,加上外部群眾大約有近600萬元。此時已經聯系不上公司老板羅明,行政部打款人李良。”
王先生經核查發現,由于今年1月底,公司技術部門多數同事違規操作,進行大量提現,導致資金鏈斷裂。上層領導早已為跑路做好準備,將法人變更等一系列操作。
“公司就剩下我們這些受害者,我們所有的錢包括花唄,信用卡,還有自己辛苦的血汗錢都被羅總卷走,現在沒錢還信用卡。”王先生說道。
社交財經注意到,尋草記商城是北京維引力文化傳播股份有限公司運營的社交金融電商,于2019年8月正式上線運營,是一家全品類FreeBuy融媒體電商平臺,以幫助消費者實現消費自由為目的。

那么如何實現“消費自由”呢?其官方微信公眾號“尋草記商城”宣傳用戶通過FreeBuy的消費方式實現購物自由,主要目的是通過消費全額返現讓您實現自由購物,不用擔心存款被消耗,生活壓力隨之會降到最低。


此外,尋草記商城宣傳是云竹信息(股票代碼837939)旗下互聯網平臺,實力股東有上海證券、東方財富證券、華金證券、聯儲證券、華信證券、東莞證券、中盛基金、小微互聯投資、火燒云投資等,一定保證每一位用戶的資金安全。
但社交財經注意到,尋草記商城公開宣傳可以“躺賺”,即花299元購買價值300元購物金成為鉆石合伙人,而成為鉆石合伙人后,邀請200個好友注冊,就可以獲得299元獎勵,成功發展下級店主或買手,每一位也會獲得專屬獎勵。此外,只要簡單地把商城分享給身邊的同事,朋友,不光可以領到福利,同時還可以獲得下級的消費提成, 并且自己消費FreeBuy商品打95折,下級購買或轉讓FreeBuy訂單,享受手續費提成。

“在尋草記商城買了鉆石合伙人,輕輕松松月入過萬。”王先生透露道。
據天眼查APP顯示,北京維引力文化傳播股份有限公司成立于2015年12月4日,實繳資本為500萬元,莊勝勇擔任法人,北京云竹網絡科技有限公司持股75%,羅明持股25%。

值得注意的是,2020年12月3日,該公司法人、董事長由陳金玲變為莊勝勇。2019年5月27日,該公司法定代表人、董事長由羅明變為陳金玲。

此外,該公司于2020年10月13日被列入被執行人,執行標的16518元。2020年11月13日,該公司前法人陳金玲被列入限制消費令。

此外,據天眼查APP顯示,北京云竹網絡科技有限公司(曾用名:北京上市家科技孵化器有限公司)成立于2015年6月15日,實繳資本為3330萬元,該公司北京九天云竹信息技術股份公司持股79.37%,成都上市吧信息技術股份有限公司持股20.63%。值得注意的是,2020年12月11日,該公司法人、執行董事、經理由羅明變為盧平仙。

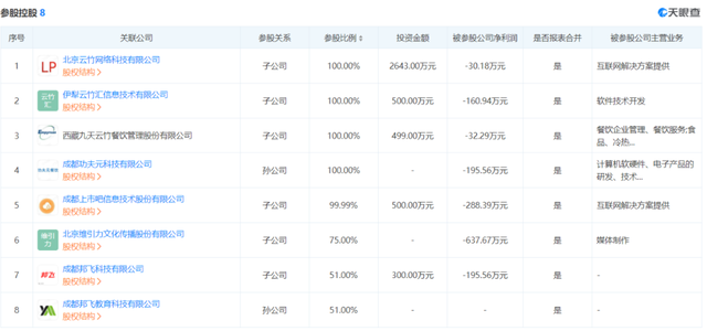
而其控股公司北京九天云竹信息技術股份公司屬于新三板上市公司(云竹信息837939),據天眼查APP顯示,其參股公司就包括北京維引力文化傳播股份有限公司。
此外,社交財經注意到,有部分網友發起受害者維權流程并發布尋草記暴雷的時間線如下:
2021年1月30日前后,陸續出現提現困難。
2月1日,平臺已經無法提現了。平臺客服解釋稱受平臺升級影響,提現會延遲到賬,請等待幾日。
2月3日,平臺爆出內部員工上百萬資金無法提現,部分員工尋找公司實際控制人討要說法,但未出面解決此事。部分用戶前往當地經偵大隊報警,據了解,四川成都高新公安分局經偵大隊已受理此事件,相關資料正在陸續收集中。
2月4日,用戶陸陸續續了解平臺無法提現,自建群聊開展維權,同時員工大量離職。
2月5日,有部分受害者前往北京維引力文化傳播有限公司北京辦公地點,成都辦公地點,已人去樓空,當晚平臺公告暫停運營,出臺解決方案,即與請商城運營主體(北京維引力文化傳播股份有限公司)確認債權債務關系。

截圖來自:黑貓投訴
而據維權人透露,該解決方案并不合理,一是償還債務時間遙遙無期,二是償還比例有待調整。
對此,社交財經將繼續關注尋草記商城暴雷后續維權情況。
今日新聞頭條
我也說兩句
| 驗證碼: |
已有評論 0 條 查看全部回復










