光明新零售被斥蹭“熱點” 獎金制度或涉嫌傳銷
發布: 2020-05-15 11:08:59 作者: 常實 高多多 來源: 中國網財經
近日,一位光明新零售有限公司(以下簡稱“光明新零售”)運營中心負責人向中國網財經記者透露,要加入公司做代理有六級代理制度(不包含零售),另外還有分紅和平級獎勵等,這一獎金制度令人存疑。而其名稱中的“光明”二字更是令不少消費者質疑是否與光明乳業有關。
據悉,光明新零售主營銷售光明膳纖飲、光明清清飲、光明亞麻籽膳食粉、鳥巢666燕窩能量餐等產品,但其官網并未對產品等信息做詳細介紹。
獎金制度或涉嫌傳銷
中國網財經記者從一位自稱為光明新零售運營中心負責人處了解到,要加入光明新零售做代理有兩種選擇,其一是需要花費330元注冊購買一盒產品成為vip,其二是花費1490元注冊購買5盒套餐成為區代。“如果是事業型,推薦從縣代起步最佳。”那么所謂“縣代”又是什么意思呢?
從該負責人向記者提供的一份代理制度表中了解到, “縣代”就是其六級代理制度(不包含零售)中的一級。具體內容:
VIP級別,需要花費330元注冊購買一盒產品;
區級代理,直接銷售5單產品,團隊累積銷售10單產品,自動由VIP升級為區代;
縣級代理,直接銷售10單產品,團隊累積銷售100單產品,自動升級到縣代;
市級代理,小部門銷售多于等于100單產品,團隊累積銷售600單產品,自動升級到市代;
省級代理,小部門銷售多于等于1000單產品,團隊累積銷售6000單產品,自動升級到省代;
大區代理,小部門銷售多于等于6000單產品,團隊累積銷售20000單產品,自動升級到大區;
而所謂小部門,該負責人向中國網財經記者介紹稱:“你有好幾個直推部門,除了業績最大的那一個之外,其余的都是你的小部門”。

加入光明新零售的代理制度
另外,表格還顯示當前存在著“直接銷售獎和團隊獎”,其中,直接銷售獎即零售價與拿貨價的差額,而團隊獎為你和直接推薦人之間的級別差價。還以大區代理舉了例子:作為大區代理,若包含省代、市代、縣代、區代等級別,銷售一盒及五盒差價為30/150、60/300、90/450、120/600,若再分別乘以100/10、50/5、10/2、5/1盒的銷售數量,一天就能獲利12000元,一個月36萬元,一年432萬元。
分紅的制度為:0-30萬:2%,30-80萬:4%,80-150萬:6%,150-260萬:8%,260萬以上:10%。
值得注意的是,該負責人還表示稱:“還有一種平級獎,即發展的會員和你平級了,從你推薦人收入里拿出來40%給你,所以一般都是秘而不宣。推薦人的級別越高,收入就越多,而你的平級獎也就會越多,所以選擇一個高級別的推薦人也是很重要的。”
根據《禁止傳銷條例》第二章第七條規定,下列行為,屬于傳銷行為:
(一) 組織者或者經營者通過發展人員,要求被發展人員發其他人員加入,對發展的人員以其直接或者間接滾動發展的人員數量為依據計算和給付報酬(包括物質獎勵和其他經濟利益,下同),牟取非法利益的;
(二) 組織者或者經營者通過發展人員,要求被發展人員交納費用或者以認購商品等方式變相交納費用,取得加入者發展其他人員加入的資格,牟取非法利益的;
(三) 組織者或者經營者通過發展人員,要求被發展人員發展其他人員加入,形成上下線關系,并以下線的銷售業績為依據計算和給付上線報酬,牟取非法利益的。
是否與光明集團有關?
對于光明新零售與光明集團的關系,中國網財經記者聯系到了光明乳業相關負責人,對方表示,光明新零售非光明乳業旗下品牌,與我司及各子(分)公司沒有從屬或合作關系,我司及各子(分)公司也從未推出此類與光明新零售有關的任何產品。
光明新零售運營中心負責人向中國網財經記者表示,跟光明集團沒有關系,但是產品上有光明的商標,我們拿的是光明烘焙類商標的授權。我賣這個產品需要一個信任背書,所以達成了合作拿到了光明烘焙類商標的授權,把這個商標貼在我的產品上去銷售,在市場上會有更多的認可,也更好推廣,因為大家都知道光明。但是我不屬于光明集團,也不屬于光明乳業。

光明新零售產品
從中國商標網查詢得知,Brilliant商標及光明商標確系上海乾順貿易有限公司所有,但商標類別僅包含餅干、蛋糕、面包、月餅、可可制品、果凍、糖果、巧克力、冰淇淋、麥片,未寫明包含飲料類。

注冊號為4283750、10591957的Brilliant商標
注:4283750與10591957注冊號查詢為同一商標

注冊號為7582982的光明商標信息
不少消費者對此質疑或存在蹭熱點的行為。

網友質疑光明膳纖飲與光明乳業的關系

二者關系遭多次問詢
對此,上海正策律師事務所董毅智律師向中國網財經記者表示,如無相應授權,又無關聯性,上述行為侵害了商標持有者權益,建議光明乳業及時主張權利。如果有關聯性,上述行為的界定難度就會加大。
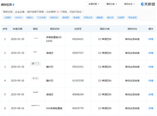
國家企業信用信息公示系統顯示,光明新零售有限公司成立于2019年7月1日,法定代表人、經理、執行董事為楊德坤。天眼查顯示,股東蔣亞學認繳5100萬元,占公司51%股份;李國認購4900萬,占公司49%股份。值得注意的是,光明新零售只申請了第32類啤酒飲料的6個商標和2個食品經營許可證。

光明新零售商標信息
另外,公開資料顯示,光明膳纖飲最早的招商資料出現在2019年4月份。其運營商為武漢智炬慧科技有限公司(以下簡稱“智炬慧”)。天眼查顯示,智炬慧成立于2019年3月25日,目前股權結構為殷先成持股51%,余杰持股49%。在此之前,徐春玲任公司執行董事及總經理,張華任監事,兩人入股上任到離職前后僅僅三個月。

智炬慧歷史股東
二人離職后,智炬慧于2019年7月1日入股光明新零售,一個月后又退股并按持股比例,把股份轉讓給殷先成51%,余杰49%;2019年9月25日,殷先成和余杰把股份轉讓給了蔣亞學和李國,同時法人由殷先成變更為蔣亞學。兩個月后,法人又變更為楊德坤。前后不到三個月,股東、法人都發生了多次的變更。
中國網財經將持續關注光明新零售的獎金制度和營銷內容。
今日新聞頭條
我也說兩句
已有評論 0 條 查看全部回復








