指上花語遭實名控訴,有恃無恐的背后究竟靠著何方神圣
發布: 2019-04-15 09:40:11 作者: 佚名 來源: 直銷頭條網
2017年,小單+商城模式在直銷行業狠狠的“揚眉吐氣”了一把。隨著近幾個月來微商的層出不窮,小單模式也備受微商青睞,他們借助社交電商與“被玩壞了的”直銷模式,瘋狂開疆拓土,期望在短時間內業績爆發,狠撈一筆,然后悄悄離去,深藏功與名。
這也致使眾多經銷商操作變形,哪怕詐騙也在所不惜。近日,廣州花之語生物科技有限公司遭到多人實名Diss,控訴其在運作過程中存在詐騙、傳銷行為,這家僅僅成立了8個月、主打塑身內衣和價格低廉的化妝品、生活日用品的網絡銷售公司,是否真的存在這種問題?如果存在,它是如何通過“花言巧語”去吸引“獵物”上鉤的?在它的幕后,又有誰為其站臺?

來自受害者的控訴
2018年12月,劉小云(化名)在勞動局技工學校參加美容培訓,身為寶媽的她希望自己可以通過碎片時間賺點錢補貼家用。但她不知道的是,培訓師與花語經銷商串通一氣,向她瘋狂推薦花語產品,說服學員們加入花語,并將有想法的學員推薦給一位名為劉紅梅的省代。
劉紅梅在做花語之前,做過19年非正式編制的教師,她通過套近乎、打感情牌、講述高大上的花之語項目以及描述快速賺錢的美好藍圖打動了劉小云,并說服她交納5萬元成為區域代理。
但劉小云只有3萬5千元,于是,劉紅梅告訴劉小云:“剩下的1萬5千元我來幫忙湊一部分,我們趕緊把區代開通,好快速發展市場。”并向劉小云索取1萬5千元的欠條,就這樣,劉小云終于開通了自己的區域代理。


但好景不長,當劉小云通過與劉紅梅的聊天后發覺該項目類似于傳銷時,她想撤退已經來不及了。


花之語以違反公司規定、負能量影響其他人以及觸犯公司利益為由,將劉小云從區域代理降為合伙人,并發出公告。

3.5萬元的投入,1.5萬元的欠條,換來了5000元的產品,以及一個被一腳踢開的結果,無論是誰,都無法接受這樣的情況發生,為了驗證事情的真偽,頭條資訊平臺深入調查,對于劉小云這一事件,其公司人員表示:“是有這個事,但主要原因是她自己不聽話,不愿意發展事業,影響他人。降級決定是公司高層的決定,沒辦法解決。”
那么,花之語項目究竟是什么?是不是傳銷?經銷商究竟是否存在詐騙現象?
花語集團,何方神圣
如果論在微商圈的地位,相較于“慕色天使”、“向大大”、“幸福狐貍內衣”、“玫莉蔻”、還有曾經報道過的“緹麗莎爾”等大佬,花語似乎顯得有些平淡無奇,籍籍無名,如果不是有受害人舉報控訴,它也不會這么快走入眾人的視野。

廣州花之語生物科技有限公司(以下簡稱花之語),成立于2018年8月7日,公司法人代表是袁新艷,注冊資金500萬元,股東袁新艷,百分之百控股。
但經過調查后發現,花之語只是花語集團新商模式版塊中的一個項目,也就是其在內地的子公司,負責化妝品銷售,真正的總公司名為香港匯悅國際有限公司,該公司成立于2018年4月3日,其他信息未公開。
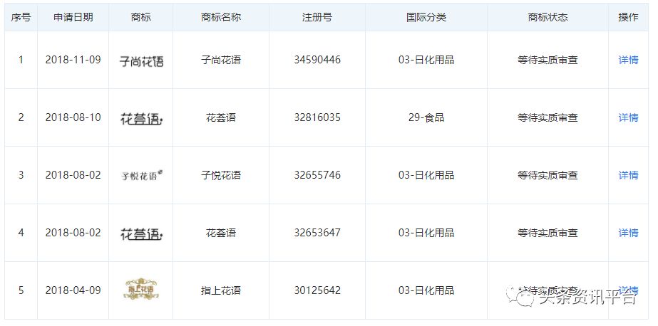
值得注意的是,香港匯悅國際從2018年4月—11月,分別注冊了指上花語、花薈語、子悅花語、花薈語、子尚花語五個日化用品、食品商標。

這五個商標是目前花之語在其網上商城銷售的產品,例如:子悅花語面膜、噴霧、面霜、精華乳眼霜等;指上花語面膜、精華、美肌水、面膏、水乳等;花薈語牙膏、衛生巾、洗發水、紙巾等;當然還有他們熱推的產品,塑身內衣。而這些產品,據微商們介紹,是擁有化妝品生產許可證編號:粵妝20160594執行標準:QB/T 2872(最高護膚品標準)和通過IS022716-2007(E)和美國GMPC化妝品-良好生產規范認證的。

那么問題來了,花之語是一家化妝品網絡銷售公司,并未獲得國家食品藥品監督管理總局公示的化妝品生產經營許可證,即公司并不具備生產研發化妝品資質,那么,它所銷售的產品來源于何處?
于是,真正的大佬出現了。據經銷商所說,花之語的大股東以及花之語產品的生產廠家名為廣州聯穎化妝品有限公司(以下簡稱聯穎),該公司成立于2002年6月10日,注冊資本300萬元,法人代表變更為鄭榮海,股東由吳滄勇、鄧峰云、鄭榮海、任峰、楊麗華、劉艷瓊、江淑萍七人構成。

提到聯穎,相信大家對于它的名號可謂是如雷貫耳。“好事不出門,壞事傳千里”,聯穎的出名,不是它在化妝品生產領域的時間長、資格老,而是劣跡斑斑的過往。
聯穎:不堪回首的過往
聯穎真正“嶄露頭角”,是在2016年1月18日,在國家食品藥品監督管理總局所抽檢的化妝品中,發現有50批次面膜類化妝品抽檢不合格,其中就有廣州聯穎化妝品有限公司所生產的蕾珂美冰凝雪肌嫩滑冰膜,不合格原因為“存在非法添加禁用物質”。
2018年8月,國家食品藥品監督管理總局在此發布關于18批次化妝品不合格通告,廣州聯穎生產的BOSSDUN.MEN®波斯頓凈白隔離防曬乳SPF30不合格,原因為其標注的限用日期分別為2021年10月9日和2021年10月17日,根據所標示的3年保質期推算,生產日期為2017年10月9日和2017年10月17日,而該化妝品取得的行政許可批件截止日期為2015年9月21日。

同年10月,廣州市白云區食藥監局公布了《2018年10月行政處罰信息公開表》。共有14起與化妝品相關的行政處罰,個人1起,化妝品銷售企業5起,化妝品生產企業8起,其中,廣州聯穎化妝品有限公司赫然在立。

值得一提的是,2018年11月山東省濱州市濱城區政府網站公示了一則處罰決定書:東營潤妍生物科技有限公司被濱州市濱城區工商局認定為運用愛潤妍網上商城采取發展會員、計酬返利的傳銷模式銷售愛潤妍系列化妝品,沒收違法所得8004043.00元,罰款200萬元。
而“愛潤妍”系列化妝品的生產廠商,正是大名鼎鼎的聯穎。

當然,除此之外,聯穎由于產品責任、買賣合同、房屋租賃合同、財產損害賠償糾紛以及網絡購物合同被其他人或公司起訴,就更加稀松平常了。

以及生產未取得批準文號的特殊用途化妝品案遭受到的行政處罰......

總而言之,花之語背靠如此劣跡斑斑的化妝品生產廠商聯穎,那么發生詐騙、傳銷一案就顯得順理成章了。
花語花語,花言巧語
如果不是親身經歷,很難想象花之語經銷商竟存在著一言不合就張口要錢的習慣。
盧某是花之語陜西省省代,當她得知筆者想要了解花之語項目后,便極力邀請筆者前去參加花之語培訓,以及4月18日在武漢召開的新品發布會,并要求:“拿出點誠意來,交點定金。”

當問到需要多少定金時,對方表明5000元,而這5000元定金的去向以及作用,都沒有提及,只是說:“今天5000元,明天還你5萬元。”

但其實,想要成為花之語的會員,很簡單,只要在他們的官方APP上購物滿39.8元,也就是一折購買他們398元的產品,就可以成為會員。

普通會員獎金制度很簡單,A成為普通會員后,向B推薦購買39.8元的產品,那么就可以賺取3元,B推薦給C,C消費39.8元,則B賺3元,A躺賺3元,如此裂變,無下限。

據省代劉紅梅講,花之語產品質量可以比肩國內外大牌產品,例如克麗緹娜,產品質量非常好,而且價格便宜,所以非常好招會員。
比普通會員高級的,是充值1000VIP,劉紅梅介紹:“我們送你1000元的產品,一個單品你可以賺到13塊,相較而言收入會提高很多。并且,推薦一個1000VIP可以賺推薦費400元,這個人再推薦一個1000VIP,我們躺賺100,直到第三代截至。”
簡單來講,就是A推薦B,A賺400,B推薦C,A賺100,C推薦D,A賺100。
再高級別的,就是3萬元的合伙人。據介紹,3萬元的合伙人,配套60套塑身衣,價值約3萬元,以及30個VIP名額,可以享受無限代的收入。
何為無限代收入?劉紅梅說:“就是比你級別低的人,賣出去的產品,你都賺錢。比如,一件塑身衣,三代以內,每一個人買一件,你賺112元,三代以外,會員和VIP賺了他們的錢之后,還余下來20多元,廠家是不回收的,這些錢就是你躺賺的。但是如果有人找你直接拿貨,那么你就賺零售差價,一件186元。”
那么,30個VIP名額有什么用?劉紅梅說:“30個VIP名額,就是你招收30個VIP,每個人1000元,你都是自己收,不用交給公司,超過30個,則超過的名額,要交給公司,但你可以賺推薦獎,一位400元。”
那么,可不可以補vip名額?答案是:可以。只需要將花語產品擺放在實體店鋪內,宣傳推廣,那么公司會根據店鋪面積,補助免費產品以及20—50個vip名額。
如果招收的是同級別3萬元合伙人呢?劉紅梅解釋,這樣的話,每招收一位,公司給你1萬元推薦獎。
還有更高級別的區縣合伙人、市級合伙人以及省級合伙人,均有著不同的獎金制度。

雖然劉紅梅一再強調,花語是以賣產品來賺錢,但是,做為明眼人,一眼就可以看穿其中的把戲,就是赤裸裸的拉人頭賺錢。
而花語所宣傳的“F2C”模式,也只是為低廉的產品價格找一個理由罷了,就像他們講自己公司的塑型衣Only Flower和中脈LACA相比,穿著更舒適、價位更低廉,其實從本質上,都是一丘之貉而已。

后記
劉小云事件后,頭條資訊平臺深入調查花之語后發現五個問題:
第一、劉紅梅所說,3萬元合伙人給3萬元的產品,5萬元合伙人給5萬元產品,那為什么劉小云交納5萬元成為合伙人,卻只拿到了5000元的產品呢?
第二、劉小云事件該如何解決?
第三、廣州聯穎化妝品有限公司化妝品生產許可證有效期至2018年1月28日,那么現在花之語的產品,批號究竟來自何處?
第四、省代收取的費用,究竟用作何處?交納定金的意義是什么?
第五、花之語能否更加規范的發展?
以上五個問題,頭條資訊平臺將持續關注。
今日新聞頭條
我也說兩句
已有評論 0 條 查看全部回復








